
服務熱線
來源: 發表時間:2015-04-27 15:26:17 點擊次數:【】
導語:破碎作業(含篩分作業)的主要任務是,為磨礦作業準備最適宜的給礦粒度;為粗粒礦物選別作業(如跳汰、重介質等)準備最佳的入選粒度;為高品位鐵礦、冶煉熔劑等生產合格的產品。
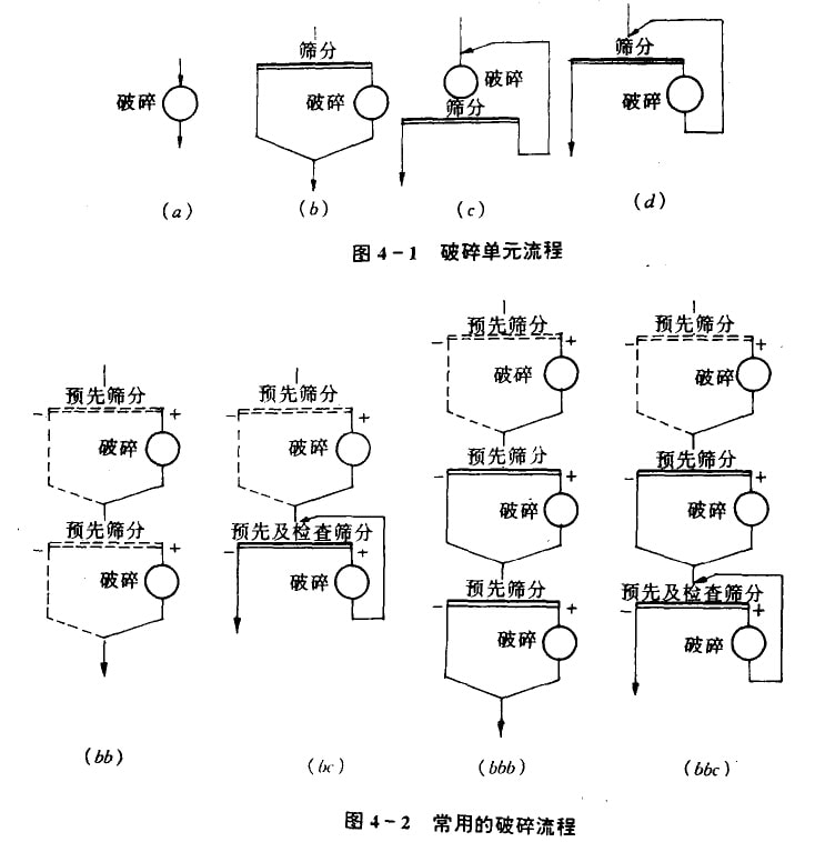
破碎流程類型 破碎流程的基本作業是破碎和篩分兩個作業。篩分作業有預先篩分和檢查篩分。破碎流程中,有時有洗礦作業。據此,組成破碎流程的可能單元流程有以下(a),(b),(c),(d)四種,如圖4—1所示:以此單元流程可組合成各種破碎流程類型。如兩段破碎流程可能的類型總數為4×4=l6種、三段破碎流程可能的類型總數為4×4×4=64種。
常用破碎流程:破碎流程可能的類型很多,但根據預先篩分,檢查篩分設置條件,以及 實際生產中的原礦最大粒度和破碎最終產物粒度,常用的破碎流程有以下四種,如圖4—2所示。

破碎流程的選擇,主要解決5個問題:即確定破碎段數;預先篩分必要性;檢查篩分必要性;洗礦必要性;手選必要性等。
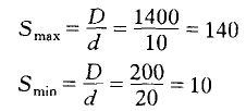
(1)破碎段數的確定;破碎段數取決于選礦廠的原礦最大粒度與破碎最終產物粒度,即取決總破碎比(s)。總破碎比等于原礦最大粒度(D)除以破碎最終產物粒度(d)。即

原礦最大耗度的確定:原礦最大粒度與采礦有關,即與礦床賦存條件、礦山規模、采礦方法、裝運設備等有關。它們之間的關系,如表4—2所示。

所謂最大粒度,是指95%的礦量通過某一篩孔尺寸的粒度。從表4—2看出.原礦最大粒度范圍為200一1400mm。
破碎最終產物拄度的確定:破碎最終產物粒度視選礦廠規模、磨礦細度和選別的工藝要求而定。由于磨礦作仆電耗占選礦廠總電耗的50%—60%,而破碎作業僅占10%—15%:因此.設計時要盡可能減小破碎最終產物粒度:目前,最適宜的給礦粒度范圍:球磨機為10一20mm;棒磨帆開路時為15—20mm,臺泥含水較多時,可增到20一25m洲礫磨機需要部分破碎最終產物作磨礦介質時40—100mm;自磨機為200一350mnl;跳汰機給礦粒度小于20mm;重介質選礦為—25一+3mm:
根據上述原礦最大粒度范圍(即200—1400mm)相破碎最終產物粒度范圍(即球磨機為lo一20mm),常用破碎流程的差破碎比范圍為:

式中S——總破碎比;
D——原礦最大極度(mm);
d——破碎最終產物粒度(mm)。
總破碎比等于各段破碎比之乘積。各段破碎比與各段破碎機的型式、流程類型和礦石性質有關:各種破辭扒在不同條件廠,其破碎比范圍,如表4—3所示(難碎性礦石取小值、易碎性礦石取大值)。

根據總破碎比范圍(10—140)和表4—3中各種破碎機在不同工作條件下的破碎比范圍看出,采用常用破碎流程,總破碎比即使達到最小值10,一般情況廠,一段破碎流程也不可能實現。最大的總破碎比為140,只能用三段破碎流程。所以.破碎段數的結論是:常用破碎航程應是兩段或三段:特殊情況可考慮四段破碎流程(如難碎性礦石的大型選礦廠)。
(2)預先篩分的必要比。預先篩分是礦石進入破碎機之前的篩分作業:其目的是,預先篩出給礦中的細粒物料,防止礦石過粉碎,減少進入破碎饑的給礦量,從而提高破碎帆的處理量,根據礦石今水分的含量,可將礦石分為:干礦石(水分<3%);潤濕礦石(水分3%—4%);較濕礦石(水分4%一6%);濕礦石(水分>6%)等。
水分在破碎時的有害程度,視礦·石中礦泥含量而定。當礦石含泥多,水分高時,采用預先篩分可以減少破碎機的堵塞現象。生產實踐證明,大多數情況下,原礦中均含有一定數量的細粒物料,特別是易碎性礦石,其紉粒含量較多,如圖4—3所示。所以,粗碎前的預先篩分總是有利的。
粗碎、中碎排礦產物中,其細粒含量更多,破碎產物的粒度持性曲線總是呈凹型的,如圖4—4,固4—5,圖4—6,圖4—7,圖4—8,圖4—9所示。所以,中碎、細碎前的預先篩分也總是有利的。設置項先篩分的缺點是:增加廠房高度,增加基建投資和設備配置較復雜:因此,在下列情況下,可以不設預先篩分:難碎性礦石,細粗含量少;破碎機有富余的生產能力;受地形限制,難于設置預先篩分;大型選礦廠的楊碎機給礦采用車廂直接倒入,即所謂擠滿給礦等。

(3)檢查篩分的必要性。檢查篩分的目的是,控制破碎最終產物粒度和充分發揮細碎機的生產能力。


所謂檢查篩分是與破碎機(主要是細碎機)構成閉路的篩分作業。各種類型破碎帆不管是開路破碎,還是閉路破碎,其排礦產物中都含有小于排礦口寬度的產物和大于排礦口寬度的產物(或稱過大顆粒),如圖4—8,圖4—9所示。小于排礦口寬度的產物,設置預先篩分是有利的,大于徘礦口寬度的產物,設置檢查篩分是必要的。破碎機排礦產物中最大粒度與排礦口寬度之比,稱為最大相對粒度。同理.排礦產物中某一粒度(對應于某一篩孔尺寸)與排礦口寬度之比,稱為某一相對粒度Z。排礦產物中,大于誹礦口寬度的過大顆粒含量與最大相對粒度,如表4—4所示。

從表4—4可以看出,各種類型的破碎機的排礦產物中都有過大顆粒,而且過大顆粒的含量很高.如短頭圓錐破碎機破碎中等可碎性礦石時,排礦產物中過大顆粒含量高達60%,最大粒度為排礦口寬度的2.2—2.7倍;破碎難碎礦石時更為嚴重,B=75%,Zmm=2.9—3.0。
所以,在破碎流程中的最后一段破碎作業設置檢查篩分是非常必要的。應當指出,從技術上講,各段排礦產物中均有過大顆粒,都可設置檢查篩分,但由于設置檢查篩分會增加投資,并使車間設備配置復雜化。因此,只在最后一段破碎設置檢查篩分.以控制破碎最終產物粒度,前面各段破碎不設置檢查篩分。
(4)洗礦的必要性。選礦廠處理含泥量較多的氧化礦,或含泥多、水分高的礦石時,必須設置洗礦作業。一般認為原礦含水大于5%、含泥(—o.074mm)超過5g6—8%,就應考慮洗礦;有些需要預選(如手選、光電選、重介質選等)的礦石,預選前需設置洗礦。所以,洗礦要視具體情況而定。
洗礦方法和設備,取決于礦石的可洗性。它與礦石所含粘土的種類、比例、可塑性、膨脹性及滲透性等有關。
洗礦的典型流程,如圖4—Io,圖4—ll所示。洗礦后的礦泥有單獨處理和礦砂、礦泥合并處理兩種方案,采用哪種方案,視礦泥和礦砂的性質而定。
(5)手選的必要性。有些礦石(如黑鎢礦等),由于礦脈薄,在開采中,廢石混入率高達80%左右,這樣使原礦品垃降低,不能直接入選,必須進行手選,以提高原礦品位和獲得部分合格產品。所以,手選雖然勞動強度大、效率低,但對這類礦石,仍然非常必要。
根據江西、廣東、湖南等省選礦廠的生產實踐統計,皮石選出率為35%一7D%,手選工效約3t/人·班,手選回收率為96.5%一99.0%。手選定額如表4—5所示。


上一篇:選礦廠設計的步驟和發展趨勢
下一篇:選礦的工藝指標