
服務熱線
當前位置:首頁>媒體中心>產品百科>圓錐破碎機斷軸事故的原因分析
來源: 發表時間:2015-05-15 09:48:08 點擊次數:【】
主軸是圓錐破碎機的最重要盡件,在運轉過程中一旦發生斷軸事故,將會嚴重影響整個選礦廠生產的正常進行。主軸的壽命與其本身結構、材質、制造質量以及破碎機使用情況、運轉換作和維修質量等因素有關。
主軸折斷的原因有以下幾方面。
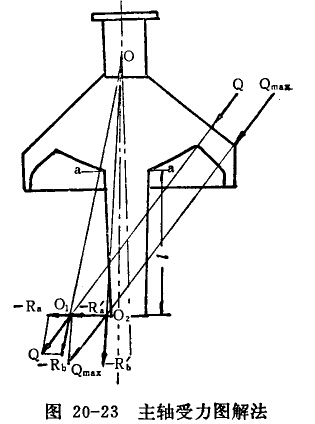
1.主軸與破碎圓錐軀體之間是靜配合,使圖20-23中所示的a-a斷面產生應力集中,成為危險斷面。應力集中將顯著降低材質的疲勞強度,使該斷面逐漸產生裂紋,一旦破碎腔落入非破碎物時,這個斷面的彎曲應力將可能超過材質屈服極限而破壞。

2.破碎機超負荷的影響。由于彈簧壓力不足,破碎硬礦石時使上部支承套經常跳動,造成產品粒度過粗,導致機件容易磨損式破壞。為解決這一問題有時采取了不合理的再度壓縮彈簧的辦法以增加破碎力,則使主軸受力R。大大增加。由于彈簧的安全行程被進一步縮短,當落入非破碎物或大塊物料、給礦過多時,彈簧幾乎被壓死,不但經常拉斷彈簧螺桿,而且造成主軸受到超過允許的彎曲強度而破壞。
3.由于襯板磨損不均,使產品粒度變粗而且不勻。為了得到合格的產品粒度,過分減小排礦口,致使卡住非破碎物次數相對增加,主軸危險斷面a-a的彎曲應力達到最大值的次數增加,而造成主軸更快地疲勞破壞。
根據上述原因,應該加強維護措施。在圓錐破碎機之前的皮帶運輸機上應該安置金屬探傷器及懸掛磁鐵,用來事先排除各種金屬非破碎物(如釬頭、錘頭、鏟斗齒等),以保證破碎機的正常工作。至于彈簧壓力不足,只能從設計上加以改進,不宜任意再度壓縮彈簧。國產新系列圓錐破碎機為了減夕斷軸事故的可能,對主軸還作了以下主要改進:
(1)按新系列彈簧壓力進一步校核主軸強度,適當增加了軸的直徑。
(2)將主軸與破碎圓錐軀體之間靜壓合部分的軀體下邊緣處做成一因環形減載槽,可以減少因靜壓配合而產生的應力集中(圖20-24a)。

(3)在保證主軸與軀體緊配合,運轉中不發生松動的情況下,減小主軸與圓錐軀體的配合過盈,以適當緩和應力集中。例如舊系列φ1650主軸用D/Jd配合;新系列φ1750破碎機改為D/j配合(圖20-24b)。
(4)改善斷軸部位的圓角形狀,并特表面光潔度由▽3提高到▽6,以減少該處的應力集中。舊系列中,此處圓角半徑是10毫米(太小);更改后的圓角半徑下部與錐軸相切,上部與主軸柱面相接(圖20-24c)。
上一篇:圓錐破碎機與旋回破碎機的區別
下一篇:錘式破碎機的用途、結構及優缺點