
服務熱線
來源: 發表時間:2015-05-08 14:08:35 點擊次數:【】
磨礦機的發展情況:棒磨機出現于19世紀70年代,球磨機出現于19世紀四年代,它們均是應用了一百多年的老設備。這兩種設備經歷了上百年的自然淘汰而保存下來,說明它們的結構主體是可靠的,性能是良好的。但一百年中,這兩種磨機也經歷了不斷的改進及完善。
多年來球磨機及棒磨機經歷的主要變化是如下一些方面:(1)磨機大型化,為了適應礦業迅速發展的需要及進一步降低磨礦成本,二次世界大戰后的30多年間,各國均在制造大型磨礦機,到20世紀70年代時,直徑4.5—6.5m的大型磨機均在生產中成功應用,連棒磨機的規格也增大到4.5mm x6.3m,磨機安裝功率達6000-15000馬力,最大的球磨機DxL為8250mmx15250mm,安裝功率27000馬力。大型磨礦機的基建投資低,比功耗小和生產費用少。但直徑3.8m以上磨機的比生產牢開始降低,因為愈大的磨機裝球愈少。所以磨機也非愈大愈好。(2)新技術不斷引入,改進原有的磨機部件,如微拖裝置啟動,這就可以減少安裝功率.節省能耗。(3)新材料的應用改進易損部件質量,延長易損部件壽命。如橡膠襯板、磁性襯板、合金襯板反復合襯板等的應用。
在對傳統磨機的結構及部件不斷用新技術及新材料改進的同時,也出現了一些構造上有重大不同的磨機,在生產中取得一定的應用。
(1)環形電機無齒輪傳動球磨機:這種磨機結構十分簡單,磨機筒體上固定著電機的轉子,筒體外罩著電機的轉子,結構見圖4-2-12。這種磨機的轉速是通過雙向離心變領器控制電機供電頻率,使球磨機轉速在一個小的范圍內無級調節。可根據礦石可磨性的變化來自動調節磨礦機的產率。該磨機的處理能力1000t/h,最先在挪威的一個礦用,目前全世界已有50多臺無齒輪傳動磨機在生產中應用。它減少了一副傳動齒輪,無疑節省了動力的消耗。

(2)周邊排礦磨礦機:一般的磨礦機是從中空鈾頸內排礦,此種磨礦機的排礦是從筒體周邊上開的排礦孔排出的,由于這樣,它的排礦水平低,排礦速度快,磨機生產率大,產品過粉碎輕,其結構示意圖見固4-2-13。另一種是中部周邊排礦磨礦機,這種磨機兩端給礦,中間排礦,磨機的排礦更快。據稱,生產宰比同規格磨機大25%,過粉碎輕,產品粒廢粗,產品機械強度好。有的建筑業用它磨建筑用砂,制出的混凝土強度好。一些鎢錫礦采用它來磨礦,產品過粉碎輕,高密度的鎢礦物及錫石等能讓筒壁快速徘出磨機。國外不少國家都制造及使用這種磨機。

(3)塔式磨礦機:20世紀50年代由日本研制成功,現已被歐美及其他國家在細密領域相繼采用,至80年代中期,世界約有280多臺塔式磨機用于各種物料的細密生產,其磨礦細度為1-100μm,單位電耗比臥式磨機降低50%—60%。塔式磨礦機的結構見圖4-2-14。塔式磨機與臥式細磨機不同之處在于:介質充填率可以超過50%,甚至達70%-80%,大幅度增加研磨面積。螺旋葉片攪動磨內介質,形成充分的研磨作用。磨礦介質尺寸小于25mm,介質可以是鋼球或礫石。產品從磨機上部排出,排出前先經圓錐分級機分級,溢流排出磨機,沉砂再進入磨機循環再磨。此種高效細磨機在世界各地已獲廣泛應用,技術比較成熟。

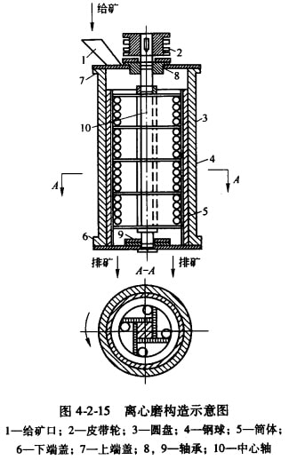
(4)離心磨:結構見圖4-2-15。離心磨是一種新型的高效率超細密設備,它分為豎式和臥式兩種。根據管的數目,前者又可分為單管和三管(行星式)離心磨。
單管式離心磨的構造如圖4-2-15所示。

用鑄鐵、鑄鋼或鋼板焊成的圓筒,它與兩端蓋相連.簡內壁鋪有高錳鋼襯套,主軸支承在上下兩端益上的滾柱軸承內,其上裝有帶葉片的圓盤,它將簡體分成多個破碎室。在每室中只裝數量不多偽鋼球或棒。當電動機使豎鈾、圓盤及葉片作高速回轉時,球或樟因離心力作用沿筒壁重量起來,受葉片的推力貼著磨壁波動。由給礦則口入的礦石,也受離心力作用而沿著磨壁分布,因此.可使入密礦石在沿筒壁滾動的球與襯套之間鉸磨紉了的礦石沿材套內壁與圓盤之間的環形壤問范至下一室,依次經多段落到排礦口,然后被排出機外。
由于離心房結構簡單,易于制造,占廠房面積小,耗電低,效率高,生產率也大,適用于井下磨細作業。如能經濟而合理地解決易磨部件的磨損問題,將是一種很有發展前途的痞礦設備。國外己逐步應用于生產上,據報道前蘇聯用500mm x3300M的離心磨取代了一向在精礦和中礦再磨作業中沿用的普通球磨機。既提高了生產率又能減少泥化現象,并準備用800mmx1000mm的離心磨代替大型選礦廠再磨中礦及精礦用的2700mmX3600mm的普通球磨。南非德班應用過三管豎式離心磨(或行星磨),并把它與單管作了比較,認為三管比單管運轉時機構易于平衡,但給人-75mm的礦料不如單管式方便,尤其是用作井下設備時。指出單管可用作第一次磨細、于管適用于第二次細磨。
(5)振動磨:振動磨示意圖見聞4-2-16。振動磨因具有磨細度高,生產率大,動力消耗低,小而輕便等優點,故近年來又有所發展,并在細磨領域內逐漸取得了一定的地位。

振動磨有慣性式和偏旋式2種。
慣性式振動磨的主軸2,安裝在磨機筒體1兩端的滾動軸承內,此軸即為磨機的振動器。當電動機通過彈性聯軸節使主軸轉動時,出于主軸中部是偏心的,它就產生了激發并維持筒體振動的離心慣性力。在它的作用下,使支承在彈簧上的磨機簡體發生振動。簡體上任一點的運動軌跡近似一橢圓,此橢圓的長軸接近于垂直,而短軸接近于水平方向。但作高頻振動時,其運動軌跡可認為是一圓曲線。
偏旋式振動磨的簡體是通過軸承4裝在有恫心鈾頸的軸2上,當安在主軸承3中的偏心軸2旋轉時,則偏心軸頸的頂點強迫簡體做閱軌跡振動。
鋼球在簡體內的運動情況,顯然與普通球磨不同。由上圖可清楚地看到,它們的運動方向是與簡體的振動方向相反,例如簡體做順時針方向的圓振動,則鋼球是按逆時針方向做封閉曲線的循環運動。除了這種總的循環外,尚有自轉運動。給人磨內的待磨物料在高頻沖擊和研磨作用下,被磨細而排出。
振動磨的振動頻率通常介于1500-3000次/min之間,振幅約2-4mm,裝球率通常達75%—85%,這三者必須配合恰當,才能獲得較多的沖擊次數及較好的效果,否則磨細度將變粗,生產率也會降低。
振動磨是在高頻下工作,而高頻振動易使物料生成裂縫,且能在裂縫中產生相當高的應力集中,故它能有效地進行超細密。但此種機械的彈簧易于疲勞而破壞,襯板消耗也較大,所用的振幅較小,給礦不宜過粗,而且要求均勻加入,故通常適用于將l-2mm的物料磨至85-5μm(干磨)或5-0.1μm(濕磨)。在粗磨礦時,振動磨的優點并不很顯著,因而至今在選礦上尚未采用它代替普通球磨,但在化學工業上得到了發展。
目前德國洪堡廠生產的帕拉型振動磨,裝球率為70%,電機110kw,可將30mm的物料磨至10μm,生產能力為15-20t/h。
但是,要使巨大重量振動是比較困難的,目前振動磨的直徑始終未突破1m。
(6)噴射磨礦機:噴射磨是一種把物料的細磨與分級、干燥等作業相綜合的新型于磨設備。主要用在化工和建筑材料工業,但最近有用于磨礦的趨勢。
圓錐型氣流噴射磨的構造示意圖如圖4-2-17。

噴射磨的工作情況是:用高溫壓縮爭氣或過熱蒸汽或其他預熱氣體作介質。當壓縮空氣在燃燒室11預熱后,經噴射管10的噴嘴放出時,因其突然減壓而膨脹,以100—200m/s速度運動的氣流,把自給礦管8中蕩下的5-3mm的被磨物料沿切線方向吹人圓錐型的磨室內,利用高速運動著的礦粒間相互沖擊及磨剝自行粉碎。已粉碎的礦粒在分組設備3的配合下進行分級,合格產品被氣流帶入旋風集塵器2中,粗顆粒經返回管4落入磨礦室的底部重新粉碎。
噴射磨的優點是設備結構簡單,無運動部件,金屬耗量低,生產率大,功率耗低,破碎比大,且能把磨碎與其他作業(化學處理、干燥與焙燒)同時進行。它在工藝方面的好處是,產物粒度均勻,過粉碎少,解離度高,選擇性磨碎作用強.比球磨機和礫磨機產品的選別指標都要好。
用含鐵石英巖的噴射磨產品經磁選后的選別指標與球良機及礫磨機的相比較,精礦品位約高2%-3%,鐵的回收牢約高2%-15%。
上一篇:篩分設備及篩分分析方法
下一篇:棒磨機中棒的運動與磨礦作用